为扎实做好我校2022届毕业生就业工作,提高学生就业质量,帮助困难学生就业,学校采用线上线下相结合的方式举办招聘会,分类开展“大型综合招聘会、企业专场招聘会、二级学院(专业类)专场招聘会”。在举办首场二级学院(煤炭类)专场招聘会后国内疫情多点散发,学校迅速响应国家政策,及时调整工作思路,停办线下招聘会,有力开启线上招聘会。
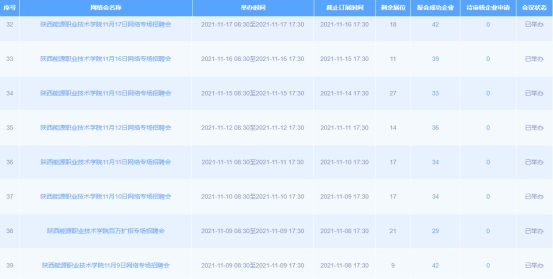
10月底以来,我校持续在赋能云平台、猫头英云人才市场开展各类线上招聘会20余场,其中有4场百万扩招专场招聘会,参与招聘的企业800余家。参与招聘的企业囊括各类行业,涉及各类专业,提供万余岗位。利用网络平台,打通学生与用人单位之间的最后“一公里”,使学生不出校门、不离岗位便可投递简历,让企业足不出户实现广纳贤才。

在做好疫情防控工作的前提下,学校将继续服务学生,克服困难创造条件,更加有针对性的为建档学生、贫困生、残疾生、百万扩招学生不间断的提供分类就业指导,同时将合理利用校友资源为毕业生就业工作保驾护航。在疫情与未就业学生人数创历史新高的双重压力下,学校进一步将就业工作做实做细,努力开创毕业生就业工作新局面。

供稿:杨召