联系人:罗剑 联系电话:029-33665133
项目简介:
本成果通过提供一种基于PLC控制的散热器支架自动化加工设备,减少了加工工序,提高了生产效率,并降低了设备成本,减少了有害气体的排放,优化了工作环境,本成果已授权发明专利2项,技术成熟的3级。
技术优势及创新点:
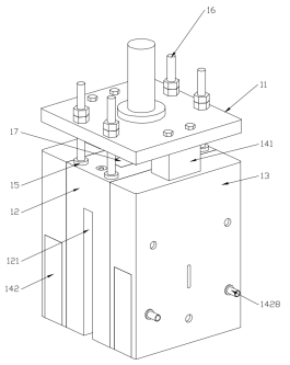
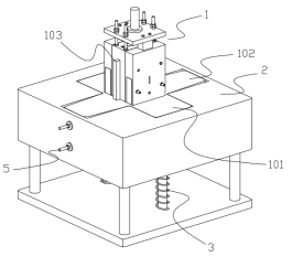
1.通过将上下模组件分别与正极导电机构、负极导电机构结合,将三者通过电阻焊的方式固定在一起,减少加工工序,提高生产效率,并降低设备成本,减少有害气体的排放,优化工作环境;
2.摒弃了传统的一体式凸模的设计思路,借助于侧模以及扶正机构,可以实现对侧板的扶正,以使其形状达到预期目标,而在卸料时,扶正机构又能收缩并与侧板脱离接触,降低卸料力;
3.借助于气道一和气道二,能够加快肋板与侧板、底板焊接后的冷却速度,使其快速连接固定,缩短整个加工时长。
市场前景:
本成果主要应用于汽车行业,汽车散热器作为空调的重要零部件,一般通过金属制的散热器支架固定于汽车内部,本成果通过创新性设计,改变了传统散热器支架加工方式效率低、操作不便、成本高、氩弧焊产生有害气体不利于工作人员的健康等弊端。2020年,我国汽车产销量2522.5万辆,在当今制作业高效、节能、环保生产的前提下,本产品市场应用潜力较大,同时,本设计思路也可应用至同类产品制造加工领域,具有较广阔推广价值。
